Hondan patentti koskee järjestelmää, joka saisi pyörän väistämään automaattisesti mitä tahansa ajoneuvoa, joka on törmäyskurssilla sen kanssa. Siihen kuuluu kameroita, jotka valvovat sokeita pisteitä sekä sensoreita, jotka seuraavat kuljettajan moottoripyörään kohdistamia toimenpiteitä, ja ohjaustangon yhteyteen rakennettu ohjausavustin, joka pystyy järjestelmän tietokoneen avulla ohjaamaan pyörän väistöliikkeeseen, kun tietokone on havainnut törmäysuhan. Pyörä siis tekee automaattisen väistöliikkeen uhan havaitessaan.

Järjestelmä on samantyyppinen, kuin autoissa jo on.

Hondan patentoima ohjausavustin reagoimassa sivulta tulevaan toiseen ajoneuvoon.

Hondan patentoima ohjausavustin reagoimassa sivulta tulevaan toiseen ajoneuvoon.

Pysyykö kuski kyydissä?

Moottoripyörissä haasteena ei välttämättä ole tarvittavan tekniikan puuttuminen, vaan haasteet ovat muualla. Moottoripyörissä väistöliikkeen toteuttaminen on hankalampaa kuin autoissa, sillä autossa on neljä pyörää, ja sitä ohjataan etupyöriä kääntämällä, moottoripyörässä pyöriä on kaksi, ja sitä ohjataan kallistelemalla. Auton kuljettaja istuu lisäksi turvavyöhön kiinnitettynä metallikorin suojassa, kun taas moottoripyöräilijä istuu satulassa "taivasalla", suojanaan vain ajoasu ja kypärä.

Väistöön kykenevän järjestelmän toteuttaminen edellyttää, että väistö tehdään kallistamalla moottoripyörää, ja vaikka tilanne etenisi äkillisesti, kuljettajan pitää pysyä kyydissä ja tilanteen päättyä turvallisesti.

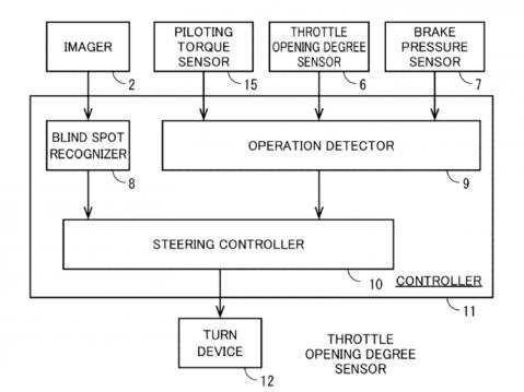
Hondan patentoima järjestelmä toimii siten, että kameroiden ohjaamana se valvoo jarrutusta, kiihdytystä ja ohjausta ja toimii useassa eri vaiheessa. Toiminnot etenevät siten, että ensin järjestelmä huomaa kuolleesta kulmasta lähestyvän ajoneuvon. Sen jälkeen kuljettajaa varoitetaan visuaalisella signaalilla tai äänimerkillä. Jos kuljettaja reagoi, järjestelmä auttaa muuttamaan ajolinjaa säätämällä ohjausta, kaasua tai jarruja. Jos kuljettaja jättää varoitukset huomiotta, eikä reagoi niihin, järjestelmä lisää ohjausavustuksen tehoa itsenäisesti.

Hondan patentoima ohjausavustin.

Hondan patentoiman ohjausavustimen toimintaperiaate.

Patentin nerokkuus

Viimeisessä kohdassa kysymysmerkiksi nousee se, että jos kuljettaja ei ole varautunut tapahtuneeseen, miten hänen käy, kun ohjausavustin päättää äkillisesti törmäyksen välttääkseen kallistaa pyörää, mahdollisesti voimakkaastikin?

Hondan patentin nerokkuus piilee siinä, että ohjausavustin pystyy huomioimaan kuljettajan. Kun se noteeraa kuljettajan reagoimattomuuden, se lisää ohjausvoimaa ensin vähän, jolloin kuljettaja ehtii (vaistomaisesti?) reagoimaan siihen, että pyörä on muuttamassa suuntaa. Täysohjaus alkaa sitten silmänräpäystä myöhemmin.

Kaavio, joka havainnollistaa kääntöavustimen toimintaa tilanteessa, jossa kuljettaja ei havaitse toisen ajoneuvon siirtyneen kuolleeseen kulmaan eikä reagoi järjestelmän antamaan varoitukseen. Kuljettajaa herättävän alkuohjauksen jälkeen järjestelmä ohjaa vahvemmin.

Kaavio, joka havainnollistaa ohjausavustimen toimintaa tilanteessa, jossa kuljettaja ei havaitse toisen ajoneuvon siirtyneen kuolleeseen kulmaan eikä reagoi järjestelmän antamaan varoitukseen. Kuljettajaa herättävän alkuohjauksen jälkeen järjestelmä ohjaa vahvemmin.

Honda on tutkinut moottoripyörän pysymistä pystyssä itsekseen ja itseohjautumista jo aiemmin ohjaustankoon tai yläkolmioon sijoitetun ohjauslaitteen avulla. Näyttäisi, että se yhdessä nyt patentoitavan järjestelmän kanssa, liittyy vahvasti yhteen.

On ymmärrettävää, että uudet järjestelmät, varsinkin, kun niihin liittyy myös mekaanisia ratkaisuja, nostavat pyörien hintaa. Toisaalta niiden ajoturvallisuutta parantavat ominaisuudet saattavat myös houkutella uusia motoristeja: kun kolaroinnin riskit pienenevät, voi olla merkittävästi helpompaa istahtaa kuskin paikalle.

Oma ryhmänsä luonnollisesti ovat ne, jotka haluavat nauttia ajamisesta ilman mitään avustimia.

Koska kyse on vasta patentista, tiedossa ei ole, milloin järjestelmä mahdollisesti tulee käyttöön elävässä elämässä, jos tulee. 

Lähteet: New Atlas, Hondan patentti.

Aiheesta aiemmin:

Perjantai 6.1.2017 13:59

Honda julkisti CES:issä itsestään pystyssä pysyvän moottoripyörän, joka seuraa kuskia kuin koira