Franklin Delano Wilsonille myönnettiin jo viime vuonna patentti muunneltavasta moottoripyöräkäyttöön, tai oikeastaan minkä tahansa ajoneuvon kanssa käytettävissäolevasta peräkärrystä. Erikoiseksi sen tekee, että sitä voidaan normaalisti vetää pyörän perässä, mutta se voidaan ikäänkuin vetää "sisään", jolloin se muuttuu kiinteäksi osaksi pyörää ja tekee siitä nelipyöräisen. Ja vielä sellaisen nelipyöräisen, jossa on neljä pyörää takana.

Suuri keksintö on siinä, että vetoaisa levyineen on irrotettavissa ja peräkärry voidaan kiinnittää moottoripyörän runkoon. Kärry sopii sisäänvedettynä useimpiin moottoripyöriin kiinnitettävksi. Samalla kun se tekee pyörästä nelipyöräisen, niin se tuo myös lisää kuljetustilaa pyörään riippuen siitä, millaisia levyjä trailerissa silloin käytetään.

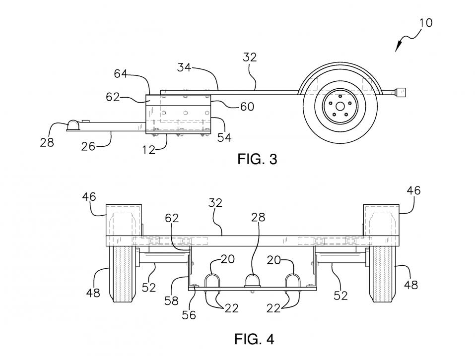
Havaintokuva siitä, miten kärry voidaan sijoittaa ajon aikana osaksi moottoripyörää, kunhan vetoasia systeemeineen on poistettu.

Keksijä kertoo patenttihakemuksessaan yhdeksi motiiviksi juuri sen, että kärryyn voidaan ottaa lomamatkalle mukaan kaikki tarvittava, vaikka koira koppeineen, jos niin halutaan.

On vähän vaikea kuvitella, että kukaan sinänsä haluaisi tämäntyyppistä peräkärryä, ja valitettavasti neilipyöräiseksi kytkeminen voisi tuoda ongelmia myös viranomaisten suhteen.