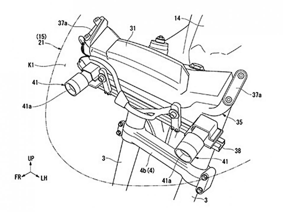
Kuten oheisista Morebikesin julkaisemista patenttipiirroksista näkyy, kamerat on asennettu Wingin etuosaan niin kauas toisistaan kuin järkevästi on mahdollista hyvän stereonäkökyvyn varmistamiseksi. Sen avulla saadaan mahdollisimman kolmiulotteista kuvaa edessä olevasta tiestä.

Kyseessä lienee törmäyksenestojärjestelmän osa, eli Hondan tavoitteena on välttää törmäys esimerkiksi jalankulkijan tai auton kanssa. KTM ja Ducati työskentelevät paraikaa eteen ja taakse näkevien tutkien kanssa. Hondan järjestelmässä kyse on kameroiden välittämästä stereokuvasta, joiden perusteella pyörän tietokone voi reagoida, mikäli tiellä tapahtuu jotain, jonka se käsittää törmäysvaaraksi.

Stereokameroihin perustuva 3-ulotteinen näkeminen toimii samalla tavalla kuin ihmisen silmät. Suuri haaste tietokoneelle on saada kuvista irti oleellinen tieto, kuten mikä on sellainen asia, johon pitää reagoida, mikä taas ei.

Moottoripyöräiljää muusta liikenteestä varoittavat järjestelmät yleistynevät; adaptoituva vakionopeudensäädin, kaistavahti ja sokean pisteen poistavat järjestelmät samoin, mutta mihin Honda pyrkii ratkaisullaan?

On vaikea kuvitella, että konenäköön perustuva järjestelmä ottaisi pyörän tekniikan ja hallinnan haltuunsa sekä suorittaisi esimerkiksi voimakkaan jarrutuksen tai väistöliikkeen - sellaisten toimenpiteiden riskit kuljettajalle ovat ilmeiset.

Kyse lieneekin enemmän törmäysvaroitusjärjestelmästä tai kaistavahdista, kuten tutkiin perustuvissa sokean pisteen hälytysjärjestelmissäkin. Näin uskomme, kunnes saamme parempaa tietoa asiasta.

Honda Gold Wingin patenttipiirros. Kameroiden sijainti numerolla 41. Kuva: Morebikes.

Honda Gold Wingin patenttipiirros. Kameroiden sijainti numerolla 41. Kuva: Morebikes.